
混凝土后錨固錨栓產品都有哪些基本種類?應該如何定義?《混凝土結構后錨固技術規程》JGJ145-2013中,對后錨固的幾種錨栓做了如下定義:
后錨固:通過相關技術手段在已有混凝土結構上的錨固。
錨栓:將被連接件錨固到基材上的錨固組件產品,分為機械錨栓及化學錨栓。
機械錨栓:利用錨栓與錨孔之間的摩擦作用或鎖鍵作用形成錨固的錨栓,按照其工作原理分為兩類:擴底型錨栓、膨脹錨栓。
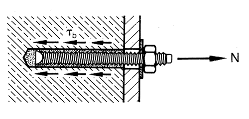
化學錨栓:由金屬螺桿和錨固膠組成,通過錨固膠形成錨固作用的錨栓。化學錨栓分為普通化學錨栓和特殊倒錐形化學錨栓。

化學錨栓工作受力原理圖示
擴底型錨栓:通過錨孔底部擴孔與錨栓組件之間的鎖鍵形成錨固作用的錨栓,分為模擴底和自擴底錨栓。

擴底錨栓工作受力原理圖示
膨脹型錨栓:利用膨脹件擠壓錨孔孔壁形成錨固作用的錨栓,分成扭矩控制式膨脹型錨栓和位移控制式膨脹型錨栓。

膨脹錨栓工作受力原理圖示
曼卡特錨栓采用高品質合金鋼制成,高強抗拉抗剪,通過抗震、防松動測試,應用專利高防腐技術,中性鹽霧試驗3100小時未生銹。現已大量用于軌道路橋(高鐵、地鐵、高速等)及大廈、場館、醫院、學校等建筑中。